
RCDB系列干式電磁除鐵器(亦稱PDC系列盤式、RCDY系列)是一種用于清除粉狀或塊狀非磁性物料中雜鐵的除鐵裝置。其內部采用電工專用樹脂澆注,自冷式全密封結構。具有透磁深度大、吸力強、防塵、防雨、耐腐蝕等特點,在惡劣的環境中仍能可靠運行。可與CF、CFL系列懸掛式電磁除鐵器通用。
其主要性能指標均達到或高于JB/T7689-2004標準要求,該產品可除去混雜在非磁性物料中0.1~35公斤的鐵磁性物質。
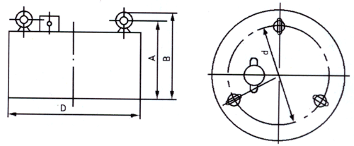
主要技術參數:
|
項目
|
適應帶寬
mm |
額定吊高h |
磁場強度
≥mT |
物料厚度
≤mm |
勵磁功率
≤kw |
適應帶速
≤m/s |
重量
kg |
外型尺寸mm
|
|||
|
參數
|
|||||||||||
|
型號
|
A
|
B
|
Dф
|
dф
|
|||||||
|
RCDB-3
|
300
|
75
|
50
|
50
|
0.4
|
4.5
|
185
|
210
|
250
|
400
|
280
|
|
RCDB-4
|
400
|
100
|
50
|
70
|
0.6
|
300
|
240
|
280
|
500
|
400
|
|
|
RCDB-5
|
500
|
150
|
60
|
90
|
1
|
430
|
280
|
325
|
610
|
450
|
|
|
RCDB-6
|
600
|
175
|
60
|
120
|
1.6
|
580
|
280
|
325
|
710
|
500
|
|
|
RCDB-6.5
|
650
|
200
|
70
|
150
|
2
|
680
|
280
|
325
|
816
|
640
|
|
|
RCDB-8
|
800
|
250
|
70
|
200
|
3.6
|
950
|
310
|
355
|
960
|
780
|
|
|
RCDB-10
|
1000
|
300
|
70
|
250
|
5
|
1520
|
310
|
360
|
1200
|
920
|
|
|
RCDB-12
|
1200
|
350
|
70
|
300
|
6.8
|
2250
|
310
|
365
|
1400
|
1000
|
|
|
RCDB-14
|
1400
|
400
|
70
|
350
|
9
|
2950
|
405
|
485
|
1650
|
1400
|
|
|
RCDB-16
|
1600
|
450
|
70
|
400
|
13
|
4800
|
460
|
540
|
1900
|
1650
|
|
|
RCDB-18
|
1800
|
500
|
70
|
450
|
18
|
6900
|
530
|
610
|
2150
|
1800
|
|